特困人员救助供养服务指南(2026年版)
一、受理条件
具有本区户籍同时具备以下条件的老年人、残疾人和未成年人,应当依法纳入特困人员救助供养范围:
(一)无劳动能力;
(二)无生活来源;
(三)无法定赡养、抚养、扶养义务人或者其法定义务人无履行义务能力。
二、办理程序
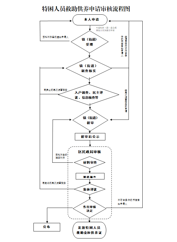
(一)申请:申请特困人员救助供养,应当由本人向户籍所在地镇人民政府(街道办事处)提出书面申请。本人申请有困难的,可以委托村(居)民委员会或者他人代为提出申请。
(二)申请材料:申请材料主要包括本人有效身份证明,劳动能力、生活来源、财产状况以及赡养、抚养、扶养情况的书面声明,承诺所提供信息真实、完整的承诺书,残疾人应当提供中华人民共和国残疾人证。
申请人及其法定义务人应当履行授权核查家庭经济状况的相关手续。
(三)受理:镇人民政府(街道办事处)应当对申请人或者其代理人提交的材料进行审查,材料齐备的,予以受理;材料不齐备的,应当一次性告知申请人或者其代理人补齐所有规定材料。
(四)审核:镇人民政府(街道办事处)应当自受理申请之日起15个工作日内,通过入户调查、邻里访问、信函索证、信息核对等方式,对申请人的经济状况、实际生活状况以及赡养、抚养、扶养状况等进行调查核实,并提出初审意见。
申请人以及有关单位、组织或者个人应当配合调查,如实提供有关情况。村(居)民委员会应当协助镇人民政府(街道办事处)开展调查核实。
调查核实过程中,镇人民政府(街道办事处)可视情况组织民主评议,在村(居)民委员会协助下,对申请人书面声明内容的真实性、完整性及调查核实结果的客观性进行评议。
镇人民政府(街道办事处)应当将初审意见及时在申请人所在村(社区)公示。公示期为7天。
公示期满无异议的,镇人民政府(街道办事处)应当将初审意见连同申请、调查核实等相关材料报送区级人民政府民政部门。对公示有异议的,镇人民政府(街道办事处)应当重新组织调查核实,在15个工作日内提出初审意见,并重新公示。
(五)审批:区民政部门应当全面审核镇人民政府(街道办事处)上报的申请材料、调查材料和初审意见,于15个工作日内提出确认意见。
对符合救助供养条件的申请,区民政部门应当及时予以确认,建立救助供养档案,从确认之日下月起给予救助供养待遇,并通过镇人民政府(街道办事处)在申请人所在村(社区)公布。
不符合条件、不予同意的,区民政部门应当在作出决定3个工作日内,通过镇人民政府(街道办事处)书面告知申请人或者其代理人并说明理由。
三、特困人员救助供养标准
按照《关于提高城乡低保等社会救助保障标准的通知》(渝民规〔2025〕6号)文件要求执行。
特困人员基本生活标准每人每月1001元,特困人员照料护理补贴标准根据具体情况,分为每人每月100元、每人每月300元、每人每月500元三个档次。
四、办理流程

五、办理时间
工作日星期一到星期五:上午9点到12点30,下午2点到6点。
六、办理地点
户籍所在地的镇人民政府、街道办事处
七、联系方式
023-40243345



